7月15日,一份网传中海地产、保利华南给佛山市自然资源局南海分局“关于地块拍卖的相关情况反映”称,7月12日TD2021(NH)WG0033地块竞拍中,万科从配建保障房住房面积17000平方米直接跳价报出25000平方米成交,使国有企业失去了公平竞争的机会。中海地产、保利华南认为这不妥,并建议调整竞标模式。

来源:网传文件
佛山市自然资源局南海分局有关负责人告诉中证君,网传文件属实。竞拍规则公开透明,配建保障房住房面积可以一口一口报价,也可以倍数报价。
中证君了解到,该文件提到的TD2021(NH)WG0033宗地,即位于佛山市南海区桂城街道环岛东路以西地段的地块,交易地块面积为163614.08平方米。
该宗地交易须知提及,在竞价过程中,若竞买申请人最高报价不超过(即小于等于)最高限制地价(最高限制地价为509020万元)时,按照价高者得原则确定竞得人及成交地价款。
当报价达到最高限制地价后,竞买人继续报价的,竞买方式转为竞配建人才住房方式。凡接受最高限制地价的竞买申请人均可参与竞配建人才住房建筑面积,竞配建人才住房最高限制面积为50000平方米,竞报阶梯为500平方米。

来源:佛山市公共资源交易中心南海分中心
7月6日,佛山市公共资源交易中心南海分中心发布变更公告称:该宗地原设置了达到最高限价时需竞配建人才住房,现变更为竞配建保障性住房,最高限制面积由50000平方米变更为25000平方米。
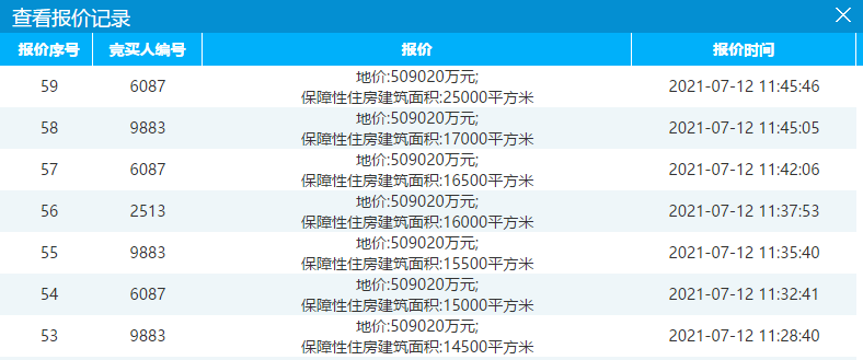
7月12日竞拍,该宗地吸引了保利、万科、美的置业、中海、华侨城、华润置地等房企,竞买报价轮次达59轮。
中证君注意到,在进行到第24轮时,即达到了509020万元的限价,随之进入报配建保障性住房建筑面积阶段。

来源:佛山市公共资源交易中心南海分中心
在第58轮叫出“509020万元+保障性住房建筑面积17000平方米”的报价后,第59轮有竞拍方直接叫出“509020万元+保障性住房建筑面积25000平方米”的报价,竞拍流程结束。竞拍结果显示,竞得人是万科旗下佛山市万科置业有限公司。
实际上,佛山土地市场整体热度不低。华润置地早前645029万元摘得陈村新城超11.7万平方米TOD临江地块;美的置业11.46亿元摘得佛山南海商住地,溢价率34.82%。
而佛山也是万科一直布局的城市。万科2020年报显示,公司在佛山区域有不少项目。今年6月,万科22.4亿元摘得佛山一环西侧、横三路北侧地块,权益建筑面积22.4万平方米。

来源:万科年报
相关报道:
万科51亿刚拿地 保利、中海却联名“上书”:我们央企有素养 拍地方式不妥当
(文章来源:中国证券报)